Project Description
JVT (버티컬 썸프펌프)
> 제품소개 > 펌프 > JVT (버티컬 썸프펌프)
펌프 표시

용도
- 각종 수처리분야(폐수)
- 일반 수처리용
- 오, 폐수 배수용
특징
- Non-clogging impeller 형식으로 고형물 이송에 적합하도록 설계
- 수직 설치형으로 설치면적이 적다.
- 수위 변화에 안정적: 흡입부가 액체 속에 항상 잠겨 있어, 액체 수위가 높아지거나 낮아져도 펌핑 성능이 안정적으로 유지됨.
표준 사양
| 토출량 | 0.05~11 ㎥/min |
|---|---|
| 전양정 | ~80 m |
| 유체온도 | 0℃~90℃ |
| 회전속도 | 1750 ~ 3600 rpm (60Hz) |
| 회전방향 | C.W (viewed from drive end) |
| 패킹부 | Mechanical Seal / Gland Packing |
| 플랜지규격 | Ratings : KS 10K, ANSI Facing : RF, FF Location : Bottom suction, Top discharge |
| 재질 | GC200, GC250, GCD450, 20~27CrGC SC42, SSC13(ASTM CF 8), SSC14 (ASTM CF 8M), SSC16(ASTM CF 3M), Hastelloy-C, Alloy-20 ,etc |
| 베어링윤활 | Oil bath type |
선정표

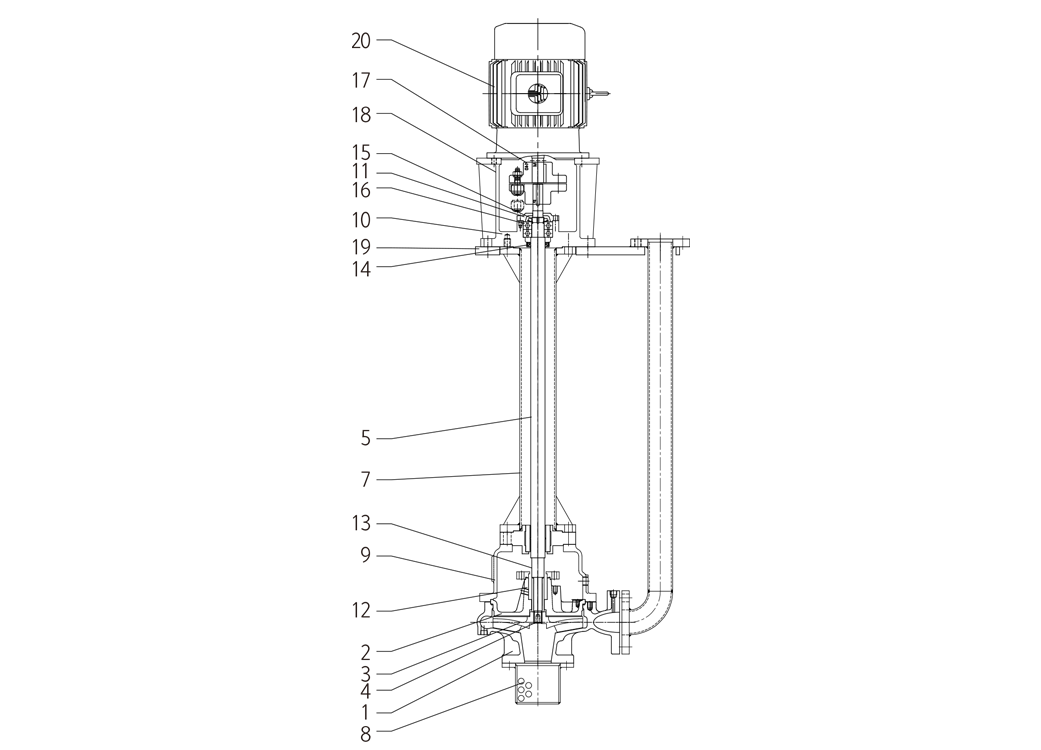
구조도

| No | Part Name | Meterial | |||||||
|---|---|---|---|---|---|---|---|---|---|
| Standard | Option | ||||||||
| 1 | CASING | GC200 | GC250 | SSC13-16 | GCD450 | 20-27GrGC | SC42 | Hast-C | Alloy-20 |
| 2 | CASING COVER | GC200 | GC250 | SSC13-16 | GCD450 | 20-27GrGC | SC42 | Hast-C | Alloy-20 |
| 3 | IMPELLER | SSC13 | SSC13 | SSC13-16 | SSC13 | 20-27GrGC | SC42 | Hast-C | Alloy-20 |
| 4 | IMPELLER NUT | STS304 | |||||||
| 5 | SHAFT | STS304 | STS304 | STS304-316L | STS304 | STS304 | SM45C | STS316 | STS316 |
| 6 | Discharge Pipe | SPP | SPP | STS304-316L | STS304 | STS304 | STS304 | STS316 | STS316 |
| 7 | Column Pipe | SPP | SPP | STS304-316L | STS304 | STS304 | STS304 | STS316 | STS316 |
| 8 | STRINER | SPP | SPP | STS304-316L | STS304 | STS304 | STS304 | STS316 | STS316 |
| 9 | ADAPTER | GC200 | |||||||
| 10 | BEARING HOUSING | GC200 | |||||||
| 11 | BEARING COVER | GC200 | |||||||
| 12 | GLAND PACKING | TEFLON | |||||||
| 13 | BUSH | BC6 | |||||||
| 14 | OIL SEAL | NBR | |||||||
| 15 | OIL SEAL | NBR | |||||||
| 16 | BEARING | STB2 | |||||||
| 17 | COUPLING | GC200 | |||||||
| 18 | MOTOR FRAME | GC200 | |||||||
| 19 | BASE | SS275 | |||||||
| 20 | MOTOR | ||||||||
※ 그 외 요청하신 재질로도 제작 가능합니다.